Horn
Why Upgrade?
The purpose of an automotive horn is to get the attention of other road users - be it to alert them to a dangerous situation or simply your presence. It is clearly a safety feature.
The stock horn provided with the GS500 is arguably on the quiet side when compared to the horn in the average car. It is no stretch of the imagination that a driver with the stereo on, talking on the phone, or in a car with good sound insulation may fail to hear the stock horn.
Replacement horns provide a louder option, are cheap and are relatively straightfoward to fit.
Electrical Considerations
Louder horns invariably require more power from the GS electrical system. Below is a table of the major power consuming features of the bike. These figures represent 'worst-case' - ie highbeams on, indicators, horn, etc all at the same time. (the starter has been ommitted as it is unlikely to feature with all the rest)
| Item | Current (A) |
|---|---|
| Fuse | 20 |
| Headlight | -5 |
| Indicators | -4 |
| Brakes | -4 |
| Horn | -1.5 |
| Remaining Power | 5.5 |
It can be seen that with a stock configuration there is approximately 5.5A of leeway remaining in the electrical system. Naturally upgraded (or dual) headlights will significantly eat into this leeway, as will other add-ons.
As a result any horns under 4A can be installed as a direct replacement for the old horn without too many concerns. Any over this value should really be wired on their own fused circuit and activated by a relay.
Direct Replacement Horns
Fiamm HK-9 C/D
Direct plug and play, no hardware modifications required. 130dB, 4A current draw. Around $15 at Pep Boys, etc. ("HK-9 C" High Tone) ("HK-9 D" Low Tone)
Hella High Tone
Direct plug and play, no modification of hardware necessary. Best $20 mod I've ever done for the GS. Took about 30 minutes and sounds much better. Not terrifyingly loud, but enough to make heads turn.
Hella Disc-Type High-Tone Horn, 12v, 400Hz, 115 db Buy it here

1. Remove old Horn, located in this position. 10mm Bolt
2. Once you take the horn off disconnect it by simply pulling the connectors off. Give them quite a tug.
3. These connectors will plug directly into your new horn. Polarity doesn't matter.
4. Remove the bracket from the stock horn and bolt the new horn on.
5. Reattach the bracket with your new horn and you're done
6. Grab a cold one :cheers: :cheers:
Horns Requiring Relays
How To Wire A Relay
A relay is essentially an electrically operated switch - it has a coil that uses magnetism to close the contacts on the switch. In automotive terms 12V running through the coil will allow 12V to run through the switch contacts.
So why is a relay useful? You can use a low-power source to energise the coil to switch power to a high-power device (like a horn!) The circuit diagram below shows the installation of a relay into the existing horn setup. All the existing circuit is shown in black, and the new addition is shown in blue.

You want to disconnect your existing horn and connect its wires to the coil of the relay. This means that when you press the horn button it will provide power to the coil. You want to connect one of the switch connections of the relay to the positive side of your battery - with its own wire and fuse (you are essentially creating a new fused circuit for your bike). The other relay switch connection wants to be connected to your new horn(s). The remaining connection on your horn needs to be run back to the negative terminal on your battery to complete the circuit.

Some relays come with an in-built fuse holder (which saves work, left), but a separate fuse holder would also be fine. You can also get pre-wired bases (right), or you could use spade lugs.
Stebel TM80 Magnum (~$20)

The Stebel Magnum is an electromagnetic horn that puts out 136dB (at 4 inches, 112 @ 2m) from 6A of current. It is available in 500 and 410Hz. It can be easily mounted underneath the bottom triple on F-models, or inside the side fairing. Due to its size it is not particularly suited to E-models without looking like a glaring addition. (shown above next to a stock-sized horn)
Stebel HF80/2 Twin-Discs (~$25/pr)

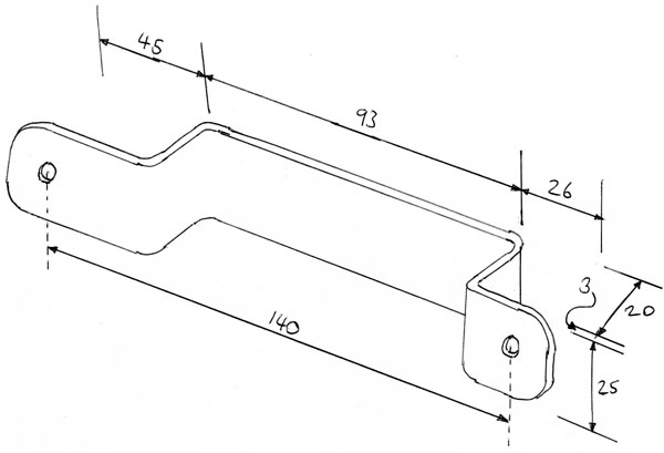
You can achieve the same volume as the Magnum by using 2 HF80 discs. They come as a dischordant pair, emitting 340 and 430Hz from 9A combined. Due to their smaller dimensions these could be installed easily using the existing horn mounting point, but they will be clearly visible as an addition. A better option is to mount them on the front of the bike frame under the oil cooler, using a bracket fashioned according to the dimensions below. I used 3x25mm aluminium strip bent in a bench vice.

This then attaches to the bracket that supports the underside of the oil cooler. Install the horns in your aluminium bracket, hold it in the correct position, and scribe with a pencil the edges of each bracket on eachother. Then when you come to take the oil cooler bracket and your new horn bracket off these pencil lines will allow you to get them correctly aligned on the drill press for drilling. I used a pair of 3mm bolts to hold them together.

View of the unpainted bracket from the front (picture above), and the painted bracket from below (picture below).

A touch of satin black spray-paint will make your new bracket look like it came from the factory. Install the horns to the bracket and the bracket to the oil cooler bracket. Then it's time to wire up your wiring and relay as per the circuit diagram above.
